logo
Digital Notes

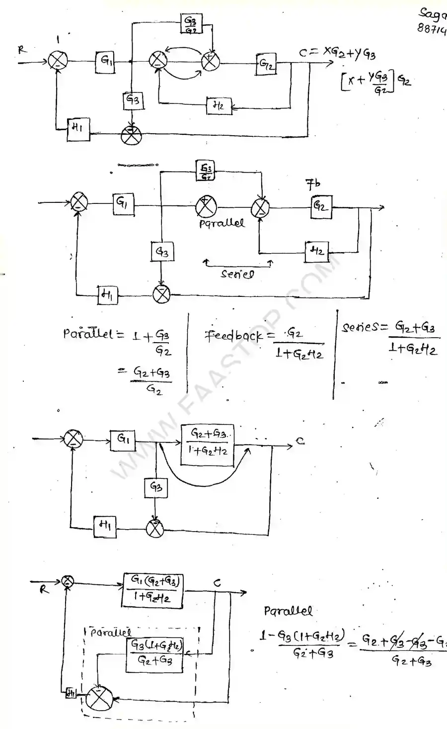
Block Diagram and Signal flow graph

ENGINEERING → Electrical And Electronics Engineering → Control Systems → CS Notes-1

Read handwritten PDF notes for Block Diagram and Signal flow graph. This chapter contains 13 pages of handwritten study materials.

13 Total Pages
PDF Format
100% Free Access
logo